产品型号:RS-WSD-N01-1
一体式水质离子变送器
多功能快速消解仪
氨氮离子变送器
宽量程工业EC变送器
一体式余氯变送器
手持式水质速测记录仪
一体式EC变送器
一体式PH变送器
宽量程工业EC控制器
宽量程一体式EC变送器
浊度变送器
自清洁COD变送器
产品概述
色度是反映水体受污染程度的重要指标,高色度通常由有机化合物、金属离子等污染物引起,可能影响人体健康(如引发消化系统疾病)并降低水生生物的生存能力。通过测量色度,可以判断自然水体是否被污染或通过监控色度变化来预防污染的发生,可以评估污水处理环节的效果,判断处理后的污水是否达到排放标准。
本产品是一款测量溶液色度的设备,采用吸收法原理,无需化学试剂;测量结果符合GB/T 11903-1989 中的铂钴比色法;内部集成自清洁系统,有效防止生物附着;内置温度变送器,具有自动温度补偿功能;采用调制光信号,减少可见光干扰;带有一路浊度测量,有效补偿浊度对色度测量带来的影响。可广泛应用于水处理、水产养殖、环境监测等行业。
功能特点
色度测量范围 0~500Hazen,浊度测量范围 0~500NTU。
采用调制光信号,减少可见光干扰。
双光路测量,补偿浊度对色度测量带来的影响。
测量结果符合 GB/T 11903-1989 中的铂钴比色法。
内部集成自清洁系统,有效防止生物附着。
RS485 通讯接口:ModBus-RTU 通讯协议可方便联入计算机进行监测和通讯。
ModBus 通信地址可设置,波特率可修改。
设备采用宽电压供电,直流 9~30V 均可。
主要技术参数
| 供电 | DC 9~30V | |
| 功耗 | 0.6W(常态);4.5W(自清洁系统工作时) | |
| 通信接口 | RS485;标准的ModBus-RTU协议;通信波特率:默认4800(1200、2400、4800、9600、19200、38400、57600、115200可设) | |
| 测量原理 | 吸收法 | |
| 测量范围 | 色度 | 浊度 |
| 0~500Hazen | 0~200NTU | |
| 测量误差 | 色度 | 浊度 |
| ±5%FS(25℃) | ±5%FS(25℃) | |
| 测量分辨率 | 色度 | 浊度 |
| 0.1Hazen | 0.1NTU | |
| 温度分辨率 | 0.1℃ | |
| 温度误差 | ±0.5℃ | |
| 重复性 | ±1%FS(25℃) | |
| 响应时间 | ≤60sec | |
| 设备工作条件 | 0~40℃ | |
| 防水等级 | IP68 | |
| 流速 | <3m/s | |
| 耐压 | <0.1MPa | |
| 电极线长 | 默认5m,可定制 | |
| 外壳材质 | 耐腐蚀塑料、不锈钢 | |
| 推荐维护和校准频率 | 3个月 | |
| 自清洁系统寿命 | 18个月 | |
产品选型
| RS- | 公司代号 | |||
| WSD- | 水质色度变送器 | |||
| N01- | RS485(ModBus-RTU 协议) | |||
| 1 | 一型外壳 | |||
系统框架图
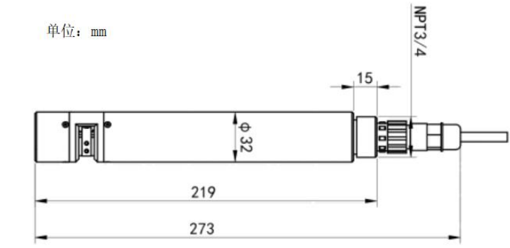
尺寸说明

安装说明
设备在水中可任意方向放置,最佳的放置方向为水平放置,可减少水中杂物和异物沉积对测量带来的影响。
悬挂传感器时应避免由于水流造成的传感器撞击墙面或者其他水利设施。如果水流很急,请固定传感器。
设备应放置在无气泡的水域中,安装设备离水面深度不超过2米,考虑到水位的波动, 建议将设备没入最低水位 30cm 以下。
带有 NPT3/4 螺纹,可配合我司的防水管使用。线缆从管内穿出,将设备拧入防水管螺纹中。

接口说明
